Product Summary
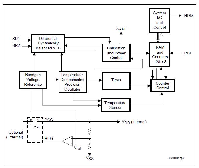
The BQ2018TS-E1TR is a low-cost charge/discharge counter peripheral packaged in an 8-pin TSSOP or SOIC. It works with an intelligent host controller, providing state-of-charge information for rechargeable batteries.
Parametrics
Absolute maximum ratings: (1)Relative to VSS: -0.3 to +6.0 V; (2)Relative to VSS: -0.3 to +6.0 V; (3)All other pins VSS: -0.3V to VCC +3.0V V; (4)REG to VSS: 1.0 mA; (5)Relative to VSS: -0.3 to +6.0 V; (6)Operating temperature: - 20 to +70 ℃.
Features
Features: (1)Multifunction charge/discharge counter; (2)Resolves signals less than 12.5μV; (3)Internal offset calibration improves accuracy; (4)1024 bits of NVRAM configured as 128 x 8; (5)Internal temperature sensor for self-discharge estimation; (6)Single-wire serial interface; (7)Dual operating modes: Operating: <80μA, Sleep: <10μA.
Diagrams

| Image | Part No | Mfg | Description | ![]() |
Pricing (USD) |
Quantity | ||||||||
|---|---|---|---|---|---|---|---|---|---|---|---|---|---|---|
![]() |
![]() BQ2018TS-E1TR |
![]() Texas Instruments |
![]() Battery Management Multi-Chem Charge/ Discharge Counter |
![]() Data Sheet |
![]()
|
|
||||||||
![]() |
![]() BQ2018TS-E1TRG4 |
![]() Texas Instruments |
![]() Battery Management Multi-Chem Charge/ Discharge Counter |
![]() Data Sheet |
![]()
|
|
||||||||
(China (Mainland))









